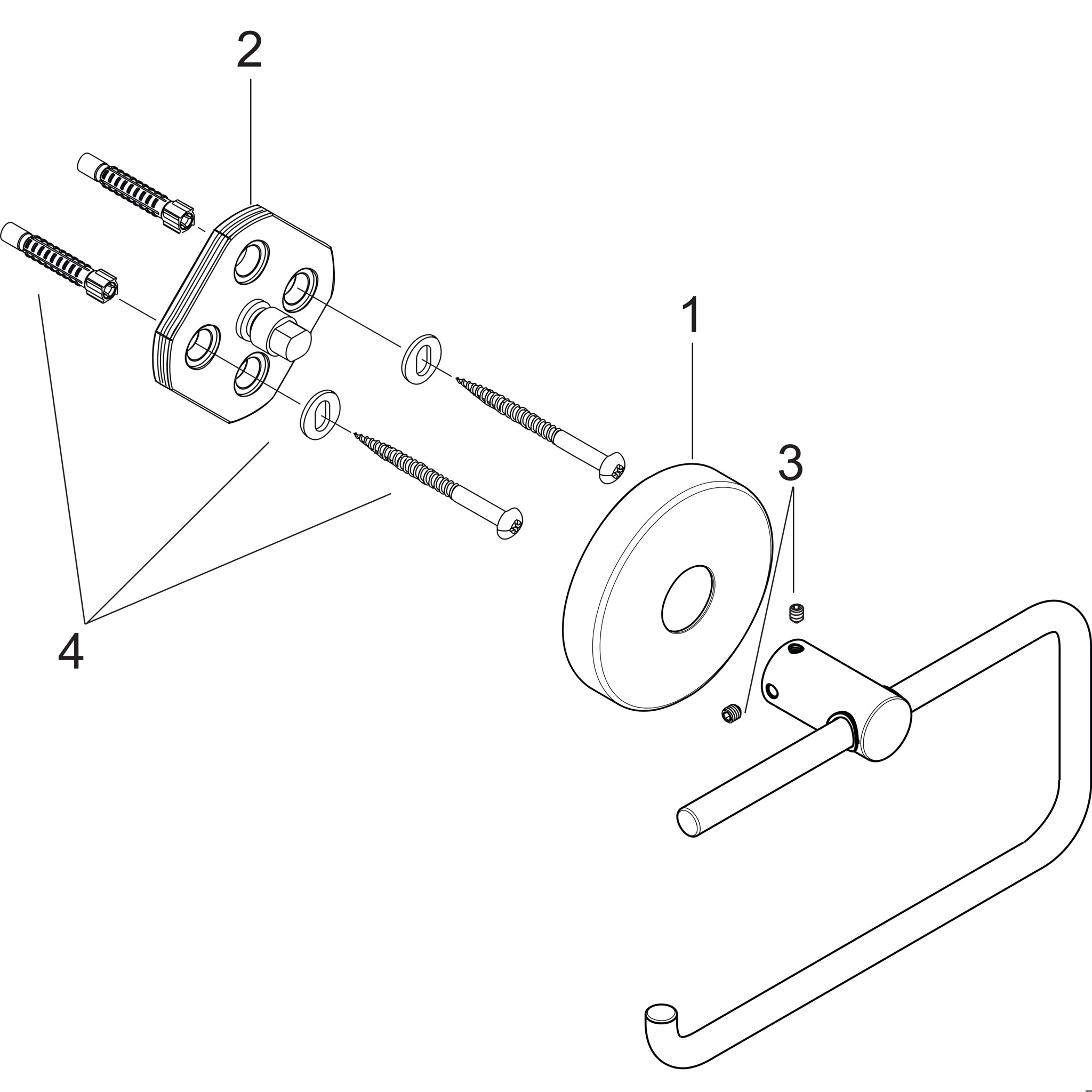
PopisNáhradní díly Popis Montáž na stěnuMateriál: mosazMateriál upevňovacího prvku: kovS upevňovacím materiálemskryté upevněníVzdálenost vrtání: 35 mmPrůměr vrtaného otvoru: 6 mm Náhradní díly