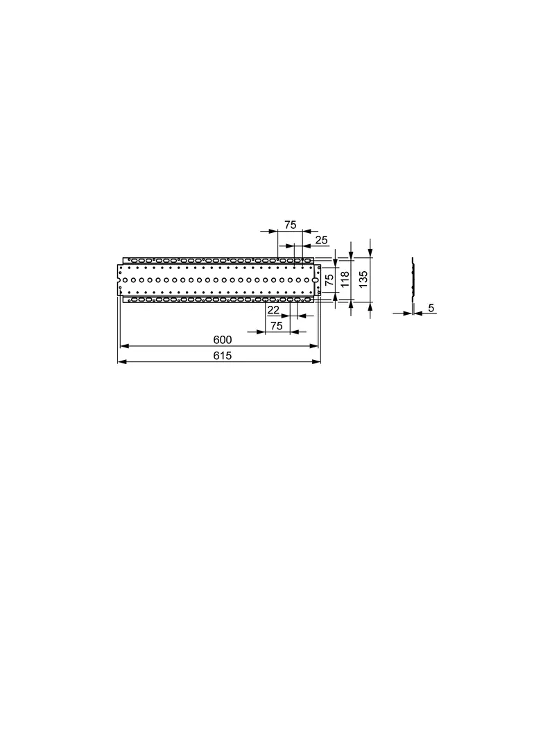
Vlastnosti Další funkce vhodné pro HANSAMATRIX a HANSABLUEBOX; pro přesnou a jednoduchou montáž instalační jednotky; montážní lišta s možností upevnění v rastru 25 mm; upevňovací šrouby pro montážní ventily; montážní lištu lze prodloužit pomocí dalších lišt Mechanické díly Upevňovací sada