Nedávno prohlížené produkty
TECE Česká republika, s.r.o.
TECE Sifon TECEdrainline "ultra-nízký", DN 40 boční odpad #650004
1 257 Kč včetně DPH
Grohe Water Technol. AG& Co.KG
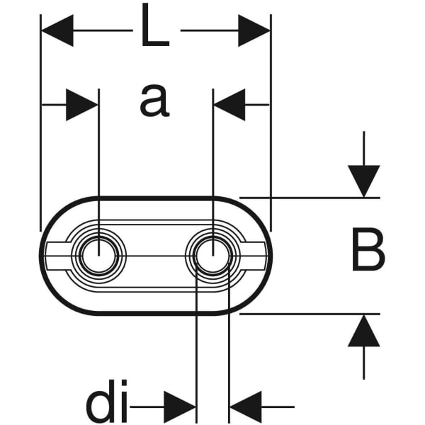
GROHE Rapid SL Extra nástěnné držáky, flexibilní umístění Chrom #38733000
Cena na dotaz
Grohe Water Technol. AG& Co.KG
GROHE Relexa Cosmopolitan Nástěnné kolínko, DN 15 Chrom #28226000
1 470 Kč včetně DPH
Hansgrohe CS s r.o.
HANSGROHE Držák sprchy Porter'E s integrovanou hadicovou přípojkou #27507000
Cena na dotaz